rifle de cerrojo rectilineo, cual comprar?
Re: rifle de cerrojo rectilineo, cual comprar?
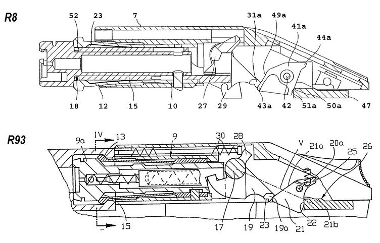
Correcto el giro y los agujeros alivia gases son los que evitan te comas el cerrojo hasta... Un blaser r8 te aseguro mil veces que no vence en aguante a un sauer 80 o un sauer weatherby , estos se probaban metiendo una punta para obstruir por la boca y luego disparaban con el calibre para garantizar su aguante a la máxima sobrepresión... Y un 8*68 o un 300 weatherby mágnum tiene mucha pólvora.. Aunque hay un vídeo de pruebas con diferentes rifles y el r93 aguantó mas que el cañón yo sigo sin tentar a la suerte..
- jabaliviejo
- 505 Gibbs

- Mensajes: 20537
- Registrado: 15 Dic 2007 06:01
- Estado: Desconectado
Re: rifle de cerrojo rectilineo, cual comprar?
Y dale con el mondongo!
Que la cuestión NO es si el cerrojo revienta o no revienta. Que la cuestión es QUÉ pasa cuando revienta
Que la cuestión NO es si el cerrojo revienta o no revienta. Que la cuestión es QUÉ pasa cuando revienta
B.U.A.
Beatífica Unión Apostólica 30.06
(establecida en 1906)
"bonus venator grosso munitio numquam requirere"
Beatífica Unión Apostólica 30.06
(establecida en 1906)
"bonus venator grosso munitio numquam requirere"
- antares308
- .50 Bmg

- Mensajes: 15741
- Registrado: 07 Ene 2010 23:15
- Ubicación: PORTUS MARIS ET TERRAE CUSTODIA
- Contactar:
- Estado: Desconectado
Re: rifle de cerrojo rectilineo, cual comprar?
jabaliviejo escribió:Y dale con el mondongo!
Que la cuestión NO es si el cerrojo revienta o no revienta. Que la cuestión es QUÉ pasa cuando revienta
Déjalos jabaliviejo, si esto siempre termina igual, por mucho que uno ponga fotos y se vean las cosas siguen renegando............ asi que deja de predicar en el desierto amigo mio
El valiente ha sido valiente hasta que el cobarde ha querido.
Corrige al sabio y lo harás más sabio, corrige al necio y lo harás tu enemigo.
Si no luchas por lo que amas, no llores por lo que pierdes.
Socio Anarma 1.222
Corrige al sabio y lo harás más sabio, corrige al necio y lo harás tu enemigo.
Si no luchas por lo que amas, no llores por lo que pierdes.
Socio Anarma 1.222
- miancave
- .300 Win Mag

- Mensajes: 2296
- Registrado: 01 Oct 2009 09:57
- Ubicación: Cádiz
- Contactar:
- Estado: Desconectado
Re: rifle de cerrojo rectilineo, cual comprar?
Claro hombre !!
Es que los que usamos Blaser somos unos analfabetos y unos masoquistas....
No nos enteramos de nada.
Es que los que usamos Blaser somos unos analfabetos y unos masoquistas....
No nos enteramos de nada.

-
fer13
- .44 Magnum

- Mensajes: 204
- Registrado: 29 Abr 2013 16:43
- Ubicación: ASTURIAS
- Contactar:
- Estado: Desconectado
Re: rifle de cerrojo rectilineo, cual comprar?
polee escribió:fer13 escribió:Seguro que ninguno de los presentes se compraría un coche el cual traiga los mejores sistemas de seguridad activa, pero que venga sin cinturones de seguridad, airbag, habitáculo deformable, etc. O esos sistemas sean mínimos.
Pues no estoy tan seguro de ello, se siguen comprando landrover antiguos, ladas niva, suzukis samurai, etc, etc, precisamente muchos de ellos por cazadores.
En mi opinión esos coches se siguen comprando por la sencilla razón de que en el mercado actual no hay excepto el jinmy vehículos que cumplan esas características, ni mas ni menos. Y eso que el jinmy de ahora es peor que el de antes. Dentro de 20 años ya no se verán coches de los de hoy en día circulando, ya que la electrónica es muy chula y eficaz pero con los años y las vibraciones se jode toda. Y un problema electrónico es un coñazo dar con el y luego repararlo, ya que lo mas sencillo es cambiar tarjetas completas y no reparar, con el sobrecoste que esto conlleva.
-
fer13
- .44 Magnum

- Mensajes: 204
- Registrado: 29 Abr 2013 16:43
- Ubicación: ASTURIAS
- Contactar:
- Estado: Desconectado
Re: rifle de cerrojo rectilineo, cual comprar?
Daniel_Nadal escribió:fer13 escribió:No elegiría un blaser r93 u r8 por una sencilla razón. Se olvidan de la seguridad pasiva, o la tienen poco en cuenta, en cuanto a una posible sobrepresion en el arma.
Amigo Fer13, hasta la fecha y que yo sepa el Blaser R8 es el rifle probado a mayor sobrepresión de toda la historia: 14500 bares. A mi eso ya me dice mucho. Con la mitad de presión muchos rifles saltan por los aires sin haber una obstrucción en el cañón.
Mencionas la seguridad pasiva. ¿Que seguridad pasiva tienen la gran mayoria de rifles de cerrojo como un Tikka T3 o un Remington 700 por ejemplo? Si los dos tetones del cerrojo rompieran imagina donde va el cerrojo. No hay nada que lo frene. Y ojo, que ha pasado. Ya puse en otro hilo el resultado de un cerrojo de un Mauser sueco al que le pasó y su tirador tuvo la peor de las suertes.
Esta discusión es en bano, veremos dentro de 20 o mas años lo que pasa con los blaser, cuando el metal de los flejes del cerrojo vayan perdiendo características. Por el momento yo continuo con el cerrojo de mi cz brno 537, tipo mauser 98, que esta mas que probado y en las peores condiciones posibles.
- antares308
- .50 Bmg

- Mensajes: 15741
- Registrado: 07 Ene 2010 23:15
- Ubicación: PORTUS MARIS ET TERRAE CUSTODIA
- Contactar:
- Estado: Desconectado
Re: rifle de cerrojo rectilineo, cual comprar?
miancave escribió:Claro hombre !!
Es que los que usamos Blaser somos unos analfabetos y unos masoquistas....![]()
No nos enteramos de nada.
Eso lo estas diciendo tú compañero
El valiente ha sido valiente hasta que el cobarde ha querido.
Corrige al sabio y lo harás más sabio, corrige al necio y lo harás tu enemigo.
Si no luchas por lo que amas, no llores por lo que pierdes.
Socio Anarma 1.222
Corrige al sabio y lo harás más sabio, corrige al necio y lo harás tu enemigo.
Si no luchas por lo que amas, no llores por lo que pierdes.
Socio Anarma 1.222
- antares308
- .50 Bmg

- Mensajes: 15741
- Registrado: 07 Ene 2010 23:15
- Ubicación: PORTUS MARIS ET TERRAE CUSTODIA
- Contactar:
- Estado: Desconectado
Re: rifle de cerrojo rectilineo, cual comprar?
- Adjuntos
-
-
- blaser_08_web_zpsf82afeb9.jpg (12.39 KiB) Visto 1861 veces
-
-
-
- vapenexplosion-blaser-r93.jpg (10.54 KiB) Visto 1861 veces
-
-
-
- Blaser10_zps5cbf5485.jpg (30.19 KiB) Visto 1861 veces
-
El valiente ha sido valiente hasta que el cobarde ha querido.
Corrige al sabio y lo harás más sabio, corrige al necio y lo harás tu enemigo.
Si no luchas por lo que amas, no llores por lo que pierdes.
Socio Anarma 1.222
Corrige al sabio y lo harás más sabio, corrige al necio y lo harás tu enemigo.
Si no luchas por lo que amas, no llores por lo que pierdes.
Socio Anarma 1.222
- antares308
- .50 Bmg

- Mensajes: 15741
- Registrado: 07 Ene 2010 23:15
- Ubicación: PORTUS MARIS ET TERRAE CUSTODIA
- Contactar:
- Estado: Desconectado
Re: rifle de cerrojo rectilineo, cual comprar?
Más. Saludos
El valiente ha sido valiente hasta que el cobarde ha querido.
Corrige al sabio y lo harás más sabio, corrige al necio y lo harás tu enemigo.
Si no luchas por lo que amas, no llores por lo que pierdes.
Socio Anarma 1.222
Corrige al sabio y lo harás más sabio, corrige al necio y lo harás tu enemigo.
Si no luchas por lo que amas, no llores por lo que pierdes.
Socio Anarma 1.222
- antares308
- .50 Bmg

- Mensajes: 15741
- Registrado: 07 Ene 2010 23:15
- Ubicación: PORTUS MARIS ET TERRAE CUSTODIA
- Contactar:
- Estado: Desconectado
Re: rifle de cerrojo rectilineo, cual comprar?
Si tan seguros estaban de su cerrojo r93 porque lo reforzaron sacando el R8 ????????. Saludos
El valiente ha sido valiente hasta que el cobarde ha querido.
Corrige al sabio y lo harás más sabio, corrige al necio y lo harás tu enemigo.
Si no luchas por lo que amas, no llores por lo que pierdes.
Socio Anarma 1.222
Corrige al sabio y lo harás más sabio, corrige al necio y lo harás tu enemigo.
Si no luchas por lo que amas, no llores por lo que pierdes.
Socio Anarma 1.222
- antares308
- .50 Bmg

- Mensajes: 15741
- Registrado: 07 Ene 2010 23:15
- Ubicación: PORTUS MARIS ET TERRAE CUSTODIA
- Contactar:
- Estado: Desconectado
Re: rifle de cerrojo rectilineo, cual comprar?
. Saludos
El valiente ha sido valiente hasta que el cobarde ha querido.
Corrige al sabio y lo harás más sabio, corrige al necio y lo harás tu enemigo.
Si no luchas por lo que amas, no llores por lo que pierdes.
Socio Anarma 1.222
Corrige al sabio y lo harás más sabio, corrige al necio y lo harás tu enemigo.
Si no luchas por lo que amas, no llores por lo que pierdes.
Socio Anarma 1.222
- miancave
- .300 Win Mag

- Mensajes: 2296
- Registrado: 01 Oct 2009 09:57
- Ubicación: Cádiz
- Contactar:
- Estado: Desconectado
Re: rifle de cerrojo rectilineo, cual comprar?
antares308 escribió:Eso lo estas diciendo tú compañero, yo lo que digo es que si después de ver toda la información tanto gráfica como escrita que hay en este foro o publicadas fuera de él, no quieres ver la realidad allá cada cual con sus decisiones, pero no queráis que los demás comulguemos con ruedas de molino
Saludos
Lo cierto es que son solo unos 7 casos (en todo el mundo) de los que apenas hay documentación sobre lo que realmente ocurrió....y ahora mismo cualquiera puede encontrar 1000 veces mas fotos de otros fallos mecánicos de otras marcas de rifle que las que tu pones y con heridas tan feas o mas de las que te puedas imaginar.
Y no... no deseo que comulguéis con ruedas de molino (no trabajo para excopesa ni para Blaser), pero tampoco estoy de acuerdo con contaminar con información sesgada o no verificada.
Repito: Cientos de miles de R93 vendidos y 7 casos de accidentes de los que no se sabe nada seguro.
Mas arriba puse un link en donde expongo mejor mi opinión al respecto, para no interferir en el propósito de este hilo en donde un compañero pide consejo sobre que rifle elegir.
Saludos a los Blaseros y anti-Blaseros...

- miancave
- .300 Win Mag

- Mensajes: 2296
- Registrado: 01 Oct 2009 09:57
- Ubicación: Cádiz
- Contactar:
- Estado: Desconectado
Re: rifle de cerrojo rectilineo, cual comprar?
Os pongo el enlace de nuevo.
https://www.armas.es/foros/rifles-para-c ... 7?start=20
No desvirtuemos el hilo del compañero.
Saludos amigos
https://www.armas.es/foros/rifles-para-c ... 7?start=20
No desvirtuemos el hilo del compañero.
Saludos amigos

- jabaliviejo
- 505 Gibbs

- Mensajes: 20537
- Registrado: 15 Dic 2007 06:01
- Estado: Desconectado
Re: rifle de cerrojo rectilineo, cual comprar?
Yo no informo de nada. Sólo pregunto y señalo.
Ya lo he dicho; el que responda a esas preguntas y llegue a la conclusión de que el tope del R93 es fiable, perfecto; como dice mi padre "con su cuerpo comercea"

Ya lo he dicho; el que responda a esas preguntas y llegue a la conclusión de que el tope del R93 es fiable, perfecto; como dice mi padre "con su cuerpo comercea"

B.U.A.
Beatífica Unión Apostólica 30.06
(establecida en 1906)
"bonus venator grosso munitio numquam requirere"
Beatífica Unión Apostólica 30.06
(establecida en 1906)
"bonus venator grosso munitio numquam requirere"
- antares308
- .50 Bmg

- Mensajes: 15741
- Registrado: 07 Ene 2010 23:15
- Ubicación: PORTUS MARIS ET TERRAE CUSTODIA
- Contactar:
- Estado: Desconectado
Re: rifle de cerrojo rectilineo, cual comprar?
miancave escribió:antares308 escribió:Eso lo estas diciendo tú compañero, yo lo que digo es que si después de ver toda la información tanto gráfica como escrita que hay en este foro o publicadas fuera de él, no quieres ver la realidad allá cada cual con sus decisiones, pero no queráis que los demás comulguemos con ruedas de molino
Saludos
Lo cierto es que son solo unos 7 casos (en todo el mundo) de los que apenas hay documentación sobre lo que realmente ocurrió....y ahora mismo cualquiera puede encontrar 1000 veces mas fotos de otros fallos mecánicos de otras marcas de rifle que las que tu pones y con heridas tan feas o mas de las que te puedas imaginar.
Y no... no deseo que comulguéis con ruedas de molino (no trabajo para excopesa ni para Blaser), pero tampoco estoy de acuerdo con contaminar con información sesgada o no verificada.
Repito: Cientos de miles de R93 vendidos y 7 casos de accidentes de los que no se sabe nada seguro.
Mas arriba puse un link en donde expongo mejor mi opinión al respecto, para no interferir en el propósito de este hilo en donde un compañero pide consejo sobre que rifle elegir.
Saludos a los Blaseros y anti-Blaseros...
Qué cada cual saque sus propias conclusiones. No hay mas preguntas señoría.............ya me conoces y yo de informaciones sesgadas o no verificadas soy de poco a nada ...........tan poco que si uno no actúa con rectitud se le puede quedar la cara como con un blaser
Pd. No soy anti nada de hecho si me regalan un r8 lo cojo como a la bellota pero el R93

El valiente ha sido valiente hasta que el cobarde ha querido.
Corrige al sabio y lo harás más sabio, corrige al necio y lo harás tu enemigo.
Si no luchas por lo que amas, no llores por lo que pierdes.
Socio Anarma 1.222
Corrige al sabio y lo harás más sabio, corrige al necio y lo harás tu enemigo.
Si no luchas por lo que amas, no llores por lo que pierdes.
Socio Anarma 1.222
Re: rifle de cerrojo rectilineo, cual comprar?
bueno...pues despues de leer todas vuestras opiniones he tomado una decision y es seguir como hasta ahora. se me habia antojado un blaser, yo crei que era de los mejores rifles del mercado en cuanto a seguridad y fiabilidad y mira tu todo lo que he descubierto aqui. asique nada mi fn 3006 que tantas satisfacciones me ha dado sigue siendo mi opcion nº1. muchas gracias a todos.
Re: rifle de cerrojo rectilineo, cual comprar?
Pues nada si estas agusto con tu rifle pues adelante con el y que te siga dando alegrias
Yo sin embargo hoy me he dejado llevar y después de vender mi remington 700 y el express va detrás jejejeje he comprado un R 93 con dos juegos de cañones,uno del 243 y el otro en 9.3x62
Yo sin embargo hoy me he dejado llevar y después de vender mi remington 700 y el express va detrás jejejeje he comprado un R 93 con dos juegos de cañones,uno del 243 y el otro en 9.3x62
- jabaliviejo
- 505 Gibbs

- Mensajes: 20537
- Registrado: 15 Dic 2007 06:01
- Estado: Desconectado
Re: rifle de cerrojo rectilineo, cual comprar?
Fer es de los que cuando vuelve a casa de madrugada y le sale a recibir la mujer con la escoba en la mano le suelta eso de: ¿vas a barrer o a volar?
Pandilla de nenazas gallinas capitán de las sardinas! Esto es un hombre valiente
B.U.A.
Beatífica Unión Apostólica 30.06
(establecida en 1906)
"bonus venator grosso munitio numquam requirere"
Beatífica Unión Apostólica 30.06
(establecida en 1906)
"bonus venator grosso munitio numquam requirere"
Volver a “Rifles para Caza Mayor”
¿Quién está conectado?
Usuarios navegando por este Foro: No hay usuarios registrados visitando el Foro y 80 invitados


