¿CONOCÉIS ESTE ARMA?
- alrafer
- 375 HH Magnum

- Mensajes: 5619
- Registrado: 29 Ene 2008 10:01
- Ubicación: Ciudad muy Noble, muy Leal, Benemérita, Invicta, Heroica y Buena.
- Contactar:
- Estado: Desconectado
Re: ¿CONOCÉIS ESTE ARMA?
jecaan escribió:alrafer escribió:Y esta su hermana pequeña.
La prima/hermana.
Melior 1911
No es prima/hermana, es hermana/hermana.
Fíjate en el logo de las cachas.
Ok, correctas las Jieffeco belgas de Robar.
Si Buscas Encuentras
- marroyol
- Guardián

- Mensajes: 35405
- Registrado: 11 Sep 2008 09:01
- Ubicación: León // Triana
- Contactar:
- Estado: Desconectado
Re: ¿CONOCÉIS ESTE ARMA?
jecaan escribió:No lo encuentro en el listado de alrafer.
Un RSC modelo 1917 frances en 8x51 lebel con cierre rotativo por toma de gases.
Arma diseñada por Ribeyrolle, Sutter y Chauchat (de ahí la sigla RSC).
Aproximadamente 80.000 RSC M1917 fueron producidos en MAS (Fabrican d'Armes de San Etienne) durante 1918, usando algunas partes suministradas de fábricas de MAT y MAC. Después del Armisticio, el modelo básico de rifle fue cambiado ligeramente, el cañon fue acortado, algunas partes modificadas naciendo el RSC 18

Última edición por marroyol el 09 Jun 2012 12:10, editado 1 vez en total.
Las armas tienen solamente dos enemigos.
El óxido y los políticos.
El óxido y los políticos.
- marroyol
- Guardián

- Mensajes: 35405
- Registrado: 11 Sep 2008 09:01
- Ubicación: León // Triana
- Contactar:
- Estado: Desconectado
Re: ¿CONOCÉIS ESTE ARMA?
Las armas tienen solamente dos enemigos.
El óxido y los políticos.
El óxido y los políticos.
- texulocu
- .300 Win Mag

- Mensajes: 2111
- Registrado: 02 Ago 2009 21:44
- Ubicación: OVIEDO
- Contactar:
- Estado: Desconectado
Re: ¿CONOCÉIS ESTE ARMA?
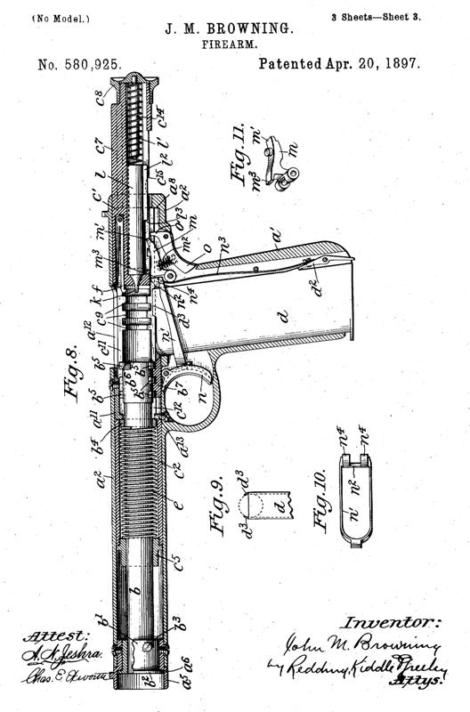
Esto es una patente (de la cual he borrado los datos relevantes), para una pistola con un sistema de cierre muy peculiar....
Nunca llegó a fabricarse, pero ese diseño del cierre es típico de otro gran diseñador; ya hemos visto alguna de sus armas aqui.
Mirando bien los planos se saca como es el movimiento de cierre.
A ver si sabéis el diseñador, año, etc...
Con esta gente competente ya no se sabe lo que poner...
Durará poco.
Nunca llegó a fabricarse, pero ese diseño del cierre es típico de otro gran diseñador; ya hemos visto alguna de sus armas aqui.
Mirando bien los planos se saca como es el movimiento de cierre.
A ver si sabéis el diseñador, año, etc...
Con esta gente competente ya no se sabe lo que poner...
Durará poco.
- marroyol
- Guardián

- Mensajes: 35405
- Registrado: 11 Sep 2008 09:01
- Ubicación: León // Triana
- Contactar:
- Estado: Desconectado
Re: ¿CONOCÉIS ESTE ARMA?
El sistema de disparo es muy parecido al de la FN 1910
Así que pongo como diseñador a John Moses Browning
Así que pongo como diseñador a John Moses Browning
Las armas tienen solamente dos enemigos.
El óxido y los políticos.
El óxido y los políticos.
- marroyol
- Guardián

- Mensajes: 35405
- Registrado: 11 Sep 2008 09:01
- Ubicación: León // Triana
- Contactar:
- Estado: Desconectado
Re: ¿CONOCÉIS ESTE ARMA?
Yviendo que has dejado en uno de los dibujos el nº de patente está mucho mas claro que es de Browning
Traducción del traslator de google:
25 de agosto 2011 | Agregar un comentario
Aquí vemos la introducción de la seguridad de agarre popular que ha encontrado su camino en los diseños de muchos de pistola desde 1897. John Browning utilizó la ronda de calibre .38 ACP de nuevo para esta pistola semi-automática. Otra característica que se introdujo con esta patente era un sistema de retroceso de bloqueo. Un rápido vistazo al dibujo de la patente y te darás cuenta de este diseño se destaca en comparación con sus otros diseños. Colt comprado este diseño y lo probó, pero nunca se avanzó en la producción. El diseño ganó John Moses Browning Patente de EE.UU. 580.925 el 20 de abril de 1897. Él había solicitado esta patente el 31 de octubre de 1896.
Traducción del traslator de google:
25 de agosto 2011 | Agregar un comentario
Aquí vemos la introducción de la seguridad de agarre popular que ha encontrado su camino en los diseños de muchos de pistola desde 1897. John Browning utilizó la ronda de calibre .38 ACP de nuevo para esta pistola semi-automática. Otra característica que se introdujo con esta patente era un sistema de retroceso de bloqueo. Un rápido vistazo al dibujo de la patente y te darás cuenta de este diseño se destaca en comparación con sus otros diseños. Colt comprado este diseño y lo probó, pero nunca se avanzó en la producción. El diseño ganó John Moses Browning Patente de EE.UU. 580.925 el 20 de abril de 1897. Él había solicitado esta patente el 31 de octubre de 1896.
Las armas tienen solamente dos enemigos.
El óxido y los políticos.
El óxido y los políticos.
- texulocu
- .300 Win Mag

- Mensajes: 2111
- Registrado: 02 Ago 2009 21:44
- Ubicación: OVIEDO
- Contactar:
- Estado: Desconectado
Re: ¿CONOCÉIS ESTE ARMA?
EDITO.
ADIOS
ADIOS
Última edición por texulocu el 09 Jun 2012 18:05, editado 1 vez en total.
- marroyol
- Guardián

- Mensajes: 35405
- Registrado: 11 Sep 2008 09:01
- Ubicación: León // Triana
- Contactar:
- Estado: Desconectado
Re: ¿CONOCÉIS ESTE ARMA?
Los dibujos sin tapar 
Las armas tienen solamente dos enemigos.
El óxido y los políticos.
El óxido y los políticos.
- marroyol
- Guardián

- Mensajes: 35405
- Registrado: 11 Sep 2008 09:01
- Ubicación: León // Triana
- Contactar:
- Estado: Desconectado
Re: ¿CONOCÉIS ESTE ARMA?
texulocu escribió:EDITO.
ADIOS
Las armas tienen solamente dos enemigos.
El óxido y los políticos.
El óxido y los políticos.
-
LLAMA380ACP
- 9mm Parabellum

- Mensajes: 60
- Registrado: 11 Ene 2011 20:15
- Contactar:
- Estado: Desconectado
Re: ¿CONOCÉIS ESTE ARMA?
Hace poco vi esto, no se nada de el, ni calibre ni marca ni nada de nada, lo que si vi es que el oxido le hizo daño en el caño, y el tambor pero mecanizaba todas sus piezas perfectamente.
Ya me direis algo
Ya me direis algo

- marchoso
- 375 HH Magnum

- Mensajes: 6135
- Registrado: 27 Dic 2008 10:01
- Ubicación: Al Andalus
- Contactar:
- Estado: Desconectado
Re: ¿CONOCÉIS ESTE ARMA?
Saludos Compañeros.
Disculpar que altere un poco el hilo.
Por favor podías echarme una mano para datar este revolver CRUCELEGUI HNOS EIBAR para el libro de coleccionista.
Por más que busco no encuentro información y tampoco tengo a nadie que se pueda desplazar al museo de Éibar para datar la desaparecida empresa.
Esta depositado en una Intervención y el interventor presiona al heredero si no lo guía con mandarlo a la chatarra, manda cojones con la I.A.
Así que os remito imágenes todas las que poseo.
A ver si me puedes echar un cable, necesito todos los datos posibles del mismo de la fábrica del año.
Un saludo y gracias de antemano a todos vosotros.
PD:tengo algunas armas a datar que no las he visto en mi vida, si alguno fuese tan amable de ayudarme os lo agradecería.
Disculpar que altere un poco el hilo.
Por favor podías echarme una mano para datar este revolver CRUCELEGUI HNOS EIBAR para el libro de coleccionista.
Por más que busco no encuentro información y tampoco tengo a nadie que se pueda desplazar al museo de Éibar para datar la desaparecida empresa.
Esta depositado en una Intervención y el interventor presiona al heredero si no lo guía con mandarlo a la chatarra, manda cojones con la I.A.
Así que os remito imágenes todas las que poseo.
A ver si me puedes echar un cable, necesito todos los datos posibles del mismo de la fábrica del año.
Un saludo y gracias de antemano a todos vosotros.
PD:tengo algunas armas a datar que no las he visto en mi vida, si alguno fuese tan amable de ayudarme os lo agradecería.

CENTRO GESTOR ANARMA: http://www.anarma.es/formularios.asp
Todas las opiniones en los foros son a título personal, en ningún caso representan ni deben ser asociadas a ANARMA
¿Quién está conectado?
Usuarios navegando por este Foro: No hay usuarios registrados visitando el Foro y 20 invitados


