Deutsche Werke Erfrut, WaltherÁs patent
- josepsierra
- .300 Win Mag 
- Mensajes: 2429
- Registrado: 28 Oct 2011 17:01
- Contactar:
- Estado: Desconectado
Deutsche Werke Erfrut, Walther´s patent
Si hay un tipo de escopeta desconocida esta es la escopeta semiautomática de palanca, no deja de ser curioso pues es el tipo de escopeta semiautomática más antigua que existe.
Su falta de conocimiento por parte de la mayoría de aficionados es lógica ya que la mayoría de estas armas no pasaron nunca de ser como mucho prototipos, de hecho solo se llego a producir un modelo y de una manera inconexa tanto por parte del productor como de los diferentes centros que la produjeron sea parcial o totalmente, me refiero a la escopeta semiautomática Walther.
Pero antes de adentrarnos en los conceptos de la Walther me gustaría dar unas pinceladas históricas para entender de donde parten las referencias y los conceptos de esta arma tan especial.
La primera idea de escopeta automática del mundo es obra de Sir Hiriam Maxim el famoso inventor de ametralladoras, que el 28 de diciembre de 1886 patento una escopeta de acción de palanca y que fue concedida el 10 de marzo de 1891, sin embargo aunque existen los planos patentados no existe ningún prototipo, no se sabe si es por qué no haya sobrevivido o porque nunca se construyo.
 
El segundo prototipo de escopeta que emplea este concepto es obra de John Moses Browning que el 6 de mayo de 1899 patenta un prototipo por acción de palanca, de hecho patento dos, pero la otra es una modificación de esta, dicha patente es concedida en 16 de junio de 1903, cuando John ya hace años que ha desestimado este tipo de sistema, de hecho la Auto-5 entra en producción el 16 de junio de 1903 en Herstal, ¡Qué casualidades tiene la vida a veces he! este prototipo y su versión evolucionada son las únicas que hoy en día han sobrevivido al tiempo y se encuentra en el museo de Browning en Ogden, Utah.
 
El tercer intento es obra de Alemán Carl Hoffmann, que invento una escopeta de aspecto extraño de acción de palanca de la cual se le concedieron dos patentes en Alemania, el 2 de febrero 1903 y el 30 de mayo de 1906, de estas armas no se tiene constancia de que existiera algún prototipo, al parecer nunca salieron del papel.
 
Estos tres diseños no serán producidos jamás y solo se tiene constancia física del prototipo de Browning del que no solo hay el prototipo primario también hay su evolución, así mismo también se tiene constancia escrita por el propio John de las pruebas con fuego real que realizo con ambos, de los de Maxim y Hoffmann, solo hay los planos de las respectivas patentes, que os he puesto en sus imágenes más representativas.
Sigue……
			
									
									
						Su falta de conocimiento por parte de la mayoría de aficionados es lógica ya que la mayoría de estas armas no pasaron nunca de ser como mucho prototipos, de hecho solo se llego a producir un modelo y de una manera inconexa tanto por parte del productor como de los diferentes centros que la produjeron sea parcial o totalmente, me refiero a la escopeta semiautomática Walther.
Pero antes de adentrarnos en los conceptos de la Walther me gustaría dar unas pinceladas históricas para entender de donde parten las referencias y los conceptos de esta arma tan especial.
La primera idea de escopeta automática del mundo es obra de Sir Hiriam Maxim el famoso inventor de ametralladoras, que el 28 de diciembre de 1886 patento una escopeta de acción de palanca y que fue concedida el 10 de marzo de 1891, sin embargo aunque existen los planos patentados no existe ningún prototipo, no se sabe si es por qué no haya sobrevivido o porque nunca se construyo.
El segundo prototipo de escopeta que emplea este concepto es obra de John Moses Browning que el 6 de mayo de 1899 patenta un prototipo por acción de palanca, de hecho patento dos, pero la otra es una modificación de esta, dicha patente es concedida en 16 de junio de 1903, cuando John ya hace años que ha desestimado este tipo de sistema, de hecho la Auto-5 entra en producción el 16 de junio de 1903 en Herstal, ¡Qué casualidades tiene la vida a veces he! este prototipo y su versión evolucionada son las únicas que hoy en día han sobrevivido al tiempo y se encuentra en el museo de Browning en Ogden, Utah.
El tercer intento es obra de Alemán Carl Hoffmann, que invento una escopeta de aspecto extraño de acción de palanca de la cual se le concedieron dos patentes en Alemania, el 2 de febrero 1903 y el 30 de mayo de 1906, de estas armas no se tiene constancia de que existiera algún prototipo, al parecer nunca salieron del papel.
Estos tres diseños no serán producidos jamás y solo se tiene constancia física del prototipo de Browning del que no solo hay el prototipo primario también hay su evolución, así mismo también se tiene constancia escrita por el propio John de las pruebas con fuego real que realizo con ambos, de los de Maxim y Hoffmann, solo hay los planos de las respectivas patentes, que os he puesto en sus imágenes más representativas.
Sigue……
- josepsierra
- .300 Win Mag 
- Mensajes: 2429
- Registrado: 28 Oct 2011 17:01
- Contactar:
- Estado: Desconectado
Re: Deutsche Werke Erfrut, Walther´s patent
Georg, Fritz y Erich Walther eran los propietarios de la empresa Carl Walther en Zella-Mehlis, con los años llegaron a poseer nueve patentes de escopetas automáticas de acción por palanca, todas estas patentes que se inician el 21 de noviembre de 1918 no se llegaran a producir jamás.
 
El 8 de noviembre de 1921 se presenta la decima patente nº 363438 que será sobre la que se diseñara el prototipo, es importante saber que de los tres hermanos el diseñador de las armas es Fritz Walther y los otros dos están volcados en tareas burocráticas y de funcionamiento tanto logístico como de ventas, por lo tanto Fritz es el autentico cerebro de la compañía Carl Walther, tardo tres años en su diseño.
 
No está muy claro cuando se inicia su comercialización pues hay varias teorías al respecto pero las más coincidentes apuntan que podría ser en 1922 y se prolongo hasta 1931.
Curiosamente la Patent Walther no será producida en la planta de Zella-Mehlis ya que su capacidad de producción está restringida por la Allied Military control que es la comisión de control de producción de armas por parte de las empresas alemanas surgida del tratado de Versalles al finalizar la 1ª guerra mundial, con la producción de la semiautomática Walther F/372 sobrepasarían el cupo asignado.
Por otra parte la empresa Alemana Rheinmetall Dreyse en Sömmerda ha empezado la producción de la escopeta automática Rheinmetall Nr.4 Modelo F/370 de calibre 16, la Rheinmetall Nr.4 es la primera semiautomática alemana de la historia, desconozco su sistema de trabajo, de hecho no he sido capaz de encontrar nada en la red sobre ella, solo esta imagen publicitaria que pongo, de todos modos yo diría y estoy especulando que tiene una imagen muy Auto-5, ¿no os parece?
 
A ver si alguno de vosotros sabéis algo sobre ella, yo por mi parte sigo investigando y tarde o temprano la conoceré.
Sigue…
			
													El 8 de noviembre de 1921 se presenta la decima patente nº 363438 que será sobre la que se diseñara el prototipo, es importante saber que de los tres hermanos el diseñador de las armas es Fritz Walther y los otros dos están volcados en tareas burocráticas y de funcionamiento tanto logístico como de ventas, por lo tanto Fritz es el autentico cerebro de la compañía Carl Walther, tardo tres años en su diseño.
No está muy claro cuando se inicia su comercialización pues hay varias teorías al respecto pero las más coincidentes apuntan que podría ser en 1922 y se prolongo hasta 1931.
Curiosamente la Patent Walther no será producida en la planta de Zella-Mehlis ya que su capacidad de producción está restringida por la Allied Military control que es la comisión de control de producción de armas por parte de las empresas alemanas surgida del tratado de Versalles al finalizar la 1ª guerra mundial, con la producción de la semiautomática Walther F/372 sobrepasarían el cupo asignado.
Por otra parte la empresa Alemana Rheinmetall Dreyse en Sömmerda ha empezado la producción de la escopeta automática Rheinmetall Nr.4 Modelo F/370 de calibre 16, la Rheinmetall Nr.4 es la primera semiautomática alemana de la historia, desconozco su sistema de trabajo, de hecho no he sido capaz de encontrar nada en la red sobre ella, solo esta imagen publicitaria que pongo, de todos modos yo diría y estoy especulando que tiene una imagen muy Auto-5, ¿no os parece?
A ver si alguno de vosotros sabéis algo sobre ella, yo por mi parte sigo investigando y tarde o temprano la conoceré.
Sigue…
					Última edición por josepsierra el 16 Jul 2013 11:01, editado 1 vez en total.
									
			
									
						- josepsierra
- .300 Win Mag 
- Mensajes: 2429
- Registrado: 28 Oct 2011 17:01
- Contactar:
- Estado: Desconectado
Re: Deutsche Werke Erfrut, Walther´s patent
Por lo tanto la Patent Walther´s, así es como la llamare a partir de ahora ya que es como vienen marcadas en su cajón de mecanismos la mayoría de las unidades, no todas, será producida por la empresa “Deutsche Werke AG” de Erfurt que está situada a 40 km de la Zella-Mehlis.
 
La Deutsche Werke (DW) era una empresa estatal creada después de la 1ª guerra mundial, estaba formada por un conglomerado de antiguos arsenales estatales, fusiles Spandau, fusiles de Erfurt o el astillero de Kie, pertenecían a la Deutsche Werke, su sede estaba en Berlín y la rama de Erfurt era la antigua fábrica de “Königliche Gewehrfabrik”(fabrica de rifle real) que producía entre otras joyas el rifle Mauser 98, la pistola Luger Erfurt y ametralladoras, después del tratado de Versalles la DW de Erfurt intento sobrevivir con la producción entre otras con la producción de las pistolas calibre 22 Ortgies y el rifle D-Tesching, por lo tanto vieron una gran oportunidad cuando los hermanos Walther les propusieron la producción de una escopeta automática de calibre 12.
 
Por desgracia para la DW de Erfurt la comisión de control de armas (Allied Military control) los puso en el punto de mira y acabo por cesar la producción de armas en sus instalaciones y también como no de la Patent Walther´s a finales de 1923 por lo tanto la producción de ella se estima en solo unas 6000 unidades en los cálculos más optimistas, ya que la DW de Erfurt fue reconvertida en la” AEG Deutsche Werke” para la producción de las maquinas de escribir Olimpia.
Sigue……
			
									
									
						La Deutsche Werke (DW) era una empresa estatal creada después de la 1ª guerra mundial, estaba formada por un conglomerado de antiguos arsenales estatales, fusiles Spandau, fusiles de Erfurt o el astillero de Kie, pertenecían a la Deutsche Werke, su sede estaba en Berlín y la rama de Erfurt era la antigua fábrica de “Königliche Gewehrfabrik”(fabrica de rifle real) que producía entre otras joyas el rifle Mauser 98, la pistola Luger Erfurt y ametralladoras, después del tratado de Versalles la DW de Erfurt intento sobrevivir con la producción entre otras con la producción de las pistolas calibre 22 Ortgies y el rifle D-Tesching, por lo tanto vieron una gran oportunidad cuando los hermanos Walther les propusieron la producción de una escopeta automática de calibre 12.
Por desgracia para la DW de Erfurt la comisión de control de armas (Allied Military control) los puso en el punto de mira y acabo por cesar la producción de armas en sus instalaciones y también como no de la Patent Walther´s a finales de 1923 por lo tanto la producción de ella se estima en solo unas 6000 unidades en los cálculos más optimistas, ya que la DW de Erfurt fue reconvertida en la” AEG Deutsche Werke” para la producción de las maquinas de escribir Olimpia.
Sigue……
- josepsierra
- .300 Win Mag 
- Mensajes: 2429
- Registrado: 28 Oct 2011 17:01
- Contactar:
- Estado: Desconectado
Re: Deutsche Werke Erfrut, Walther´s patent
Una cosa, poseo muchos datos al respecto pero no quiero profundizar mas ya que entiendo que es de un interés relativo, en cualquier caso los expertos alemanes que he leído no se ponen de acuerdo en cuanto a si todas la unidades fueron producidas por la DW de Erfurt ya que hay una disparidad de materiales y modificaciones muy importante en tan pocas unidades producidas y que se sepa a ciencia cierta La Deutsche Werke AG realizo una modificación y Fritz Walther realizo otra en plena producción, esta modificación de Fritz afecta a bastantes piezas pero solo fueron estas dos y no tantas como hay, en el tema de los materiales también hay una autentica nebulosa ya que bastantes unidades tienen componentes de una calidad muy baja totalmente impropia de la compañía de los hermanos Walther o de la Deutsche Werke AG, es por ello que muchos expertos afirman que bastantes unidades fueron terminadas en pequeños talleres particulares y de forma clandestina, al cesar la producción de la Deutsche Werke AG de una manera tan súbita por orden de las autoridades aliadas de control de armas producidas en Alemania de después de la 1ª guerra mundial, es por ello que en estas unidades no aparece la marca Deustsche Werke Erfurt Patent Walthe´s o Patent Walther¨s y vienen marcadas como Automat cal.12, aunque la compañía Carl Walther también las considera como parte de la producción “normal”.
Sigue......
			
									
									
						Sigue......
- josepsierra
- .300 Win Mag 
- Mensajes: 2429
- Registrado: 28 Oct 2011 17:01
- Contactar:
- Estado: Desconectado
Re: Deutsche Werke Erfrut, Walther´s patent
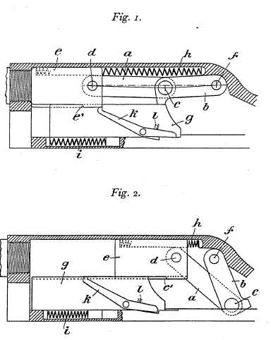
Una escopeta muy diferente.
La Patent Walther es una escopeta semiautomática que está muy lejos de lo que la mayoría de nosotros hemos visto nunca, ya no solo por su sistema de trabajo, es por todo, por lo tanto explorarla es toda una experiencia difícil pero al mismo tiempo excitante.
En esta ocasión cambiare un poco mi habitual manera de explicar su funcionamiento y optare por poner una serie de planos e imágenes que creo que serán más elocuentes ya que he encontrado en la red un trabajo maravilloso de un compañero de afición, así me centrare en cómo hacerla funcionar ya que creo que al ser tan diferente es lo más curioso y entretenido
En este despiece de la Walther numero del arma 1060 que pertenece a la primera evolución hecha por la Deutsche Werke Erfurt veréis el arma de una manera secuenciada y completa mediante unas imágenes parciales fantásticas, también podréis apreciar la notable complejidad mecánica del arma, ahora bien, hay muchas imágenes, pero entiendo que son un regalo para cualquier aficionado.
			
									
									
						La Patent Walther es una escopeta semiautomática que está muy lejos de lo que la mayoría de nosotros hemos visto nunca, ya no solo por su sistema de trabajo, es por todo, por lo tanto explorarla es toda una experiencia difícil pero al mismo tiempo excitante.
En esta ocasión cambiare un poco mi habitual manera de explicar su funcionamiento y optare por poner una serie de planos e imágenes que creo que serán más elocuentes ya que he encontrado en la red un trabajo maravilloso de un compañero de afición, así me centrare en cómo hacerla funcionar ya que creo que al ser tan diferente es lo más curioso y entretenido
En este despiece de la Walther numero del arma 1060 que pertenece a la primera evolución hecha por la Deutsche Werke Erfurt veréis el arma de una manera secuenciada y completa mediante unas imágenes parciales fantásticas, también podréis apreciar la notable complejidad mecánica del arma, ahora bien, hay muchas imágenes, pero entiendo que son un regalo para cualquier aficionado.
- josepsierra
- .300 Win Mag 
- Mensajes: 2429
- Registrado: 28 Oct 2011 17:01
- Contactar:
- Estado: Desconectado
- josepsierra
- .300 Win Mag 
- Mensajes: 2429
- Registrado: 28 Oct 2011 17:01
- Contactar:
- Estado: Desconectado
- josepsierra
- .300 Win Mag 
- Mensajes: 2429
- Registrado: 28 Oct 2011 17:01
- Contactar:
- Estado: Desconectado
- josepsierra
- .300 Win Mag 
- Mensajes: 2429
- Registrado: 28 Oct 2011 17:01
- Contactar:
- Estado: Desconectado
- josepsierra
- .300 Win Mag 
- Mensajes: 2429
- Registrado: 28 Oct 2011 17:01
- Contactar:
- Estado: Desconectado
- josepsierra
- .300 Win Mag 
- Mensajes: 2429
- Registrado: 28 Oct 2011 17:01
- Contactar:
- Estado: Desconectado
- josepsierra
- .300 Win Mag 
- Mensajes: 2429
- Registrado: 28 Oct 2011 17:01
- Contactar:
- Estado: Desconectado
Re: Deutsche Werke Erfrut, Walther´s patent
Ufffff.....Sigue....
Re: Deutsche Werke Erfrut, Walther´s patent
Hola Josepsierra y todos:
Otro magnífico trabajo de investigación que te ha costado mucho tiempo y esfuerzo 
 
La palanca de carga se parece a la de las ametralladoras Maxim: La Winchester 1911 "la fabricante de viudas" podría haber adoptado este sistema o la palanca típica de Winchester, pues no estaban patentadas por Browning.
Saludos: David.
			
									
									Otro magnífico trabajo de investigación que te ha costado mucho tiempo y esfuerzo
 
 La palanca de carga se parece a la de las ametralladoras Maxim: La Winchester 1911 "la fabricante de viudas" podría haber adoptado este sistema o la palanca típica de Winchester, pues no estaban patentadas por Browning.
Saludos: David.
" ...
porque con las armas se defienden las repúblicas, se conservan los reinos, se guardan las ciudades, se aseguran los caminos, se despejan los mares de cosarios... "El Quijote" de MIGUEL DE CERVANTES.
						porque con las armas se defienden las repúblicas, se conservan los reinos, se guardan las ciudades, se aseguran los caminos, se despejan los mares de cosarios... "El Quijote" de MIGUEL DE CERVANTES.
Re: Deutsche Werke Erfrut, Walther´s patent
Aunque no me gustan las escoeptas me subo al carro de este hilo queme parece super interesante.
Gracias por compartirlo compañero.
			
									
									Gracias por compartirlo compañero.
HOY NO ES DIA DE MOJAR LA POLVORA.
Victoriano Sánchez Barcáiztegui.
Fragata Almansa en aguas del callao 1868.
¡Viva España!
						Victoriano Sánchez Barcáiztegui.
Fragata Almansa en aguas del callao 1868.
¡Viva España!
- josepsierra
- .300 Win Mag 
- Mensajes: 2429
- Registrado: 28 Oct 2011 17:01
- Contactar:
- Estado: Desconectado
Re: Deutsche Werke Erfrut, Walther´s patent
Imagen y rendimiento.
Bueno, la imagen es más bien vetusta rallando una fealdad notable, protuberancias formas abruptas y discontinuas, un sinfín de detalles que la hacen parecer mas una herramienta de trabajo que otra cosa, solo el hecho de su autenticidad rutilante la hace brillar por aquello de lo personal y autentico, que siempre, pero en especial con el paso de los años, es un valor muy a tener en cuenta.
 
Su rendimiento tampoco destaca por su alto nivel, en cargas bajas el sistema de palanca da problemas con interrupciones del ciclo muy a tener en cuenta, esta problemática desaparece cuando subimos la carga y el arma se vuelve otra, con un alto grado de fiabilidad y un retroceso muy reducido al absorber parte de dicho retroceso el movimiento de la palanca, solo interrumpida en las unidades más nuevas, las cuales no se conoce muy bien la procedencia de partes importantes de sus mecanismos en que su baja calidad se deja notar.
El manejo del arma también resulta un tanto peculiar ya que no tiene botón de carga, cuando cogemos la gran palanca y la tiramos para atrás, esta se queda en posición de abierta, en esta posición el cierre está abierto o sea en posición atrás.
Para cargar directamente por la ventana de expulsión deberemos introducir directamente con los dedos el cartucho en la recamara pues de lo contrario cuando accionemos el sistema de palanca para que se cierre la posibilidad de atasco es muy alta.
Por lo tanto siempre debemos cargar la munición por el depósito de alimentación, una vez lleno tiraremos de la palanca hasta el final de su recorrido y la soltaremos, el sistema se encargara de recoger el primer cartucho del depósito de alimentación, liberándolo, elevándolo y sirviéndolo al cierre el cual lo introducida en la recamara, al estilo carga rápida.
Este sistema es válido tanto si tenemos el cierre abierto como cerrado y es el sistema adecuado de trabajo de la Walther.
Si queremos llevar la carga completa de 5 cartuchos una vez ya tenemos el primer cartucho en la recamara nos quedaran 3 en el depósito con lo que tendremos que volver a abrir el sistema de alimentación que como veréis más adelante es un tanto engorroso, con lo cual la mayoría no lo hacían y la carga quedaba reducida a 4 cartuchos.
 
			
													Bueno, la imagen es más bien vetusta rallando una fealdad notable, protuberancias formas abruptas y discontinuas, un sinfín de detalles que la hacen parecer mas una herramienta de trabajo que otra cosa, solo el hecho de su autenticidad rutilante la hace brillar por aquello de lo personal y autentico, que siempre, pero en especial con el paso de los años, es un valor muy a tener en cuenta.
Su rendimiento tampoco destaca por su alto nivel, en cargas bajas el sistema de palanca da problemas con interrupciones del ciclo muy a tener en cuenta, esta problemática desaparece cuando subimos la carga y el arma se vuelve otra, con un alto grado de fiabilidad y un retroceso muy reducido al absorber parte de dicho retroceso el movimiento de la palanca, solo interrumpida en las unidades más nuevas, las cuales no se conoce muy bien la procedencia de partes importantes de sus mecanismos en que su baja calidad se deja notar.
El manejo del arma también resulta un tanto peculiar ya que no tiene botón de carga, cuando cogemos la gran palanca y la tiramos para atrás, esta se queda en posición de abierta, en esta posición el cierre está abierto o sea en posición atrás.
Para cargar directamente por la ventana de expulsión deberemos introducir directamente con los dedos el cartucho en la recamara pues de lo contrario cuando accionemos el sistema de palanca para que se cierre la posibilidad de atasco es muy alta.
Por lo tanto siempre debemos cargar la munición por el depósito de alimentación, una vez lleno tiraremos de la palanca hasta el final de su recorrido y la soltaremos, el sistema se encargara de recoger el primer cartucho del depósito de alimentación, liberándolo, elevándolo y sirviéndolo al cierre el cual lo introducida en la recamara, al estilo carga rápida.
Este sistema es válido tanto si tenemos el cierre abierto como cerrado y es el sistema adecuado de trabajo de la Walther.
Si queremos llevar la carga completa de 5 cartuchos una vez ya tenemos el primer cartucho en la recamara nos quedaran 3 en el depósito con lo que tendremos que volver a abrir el sistema de alimentación que como veréis más adelante es un tanto engorroso, con lo cual la mayoría no lo hacían y la carga quedaba reducida a 4 cartuchos.
					Última edición por josepsierra el 06 Jul 2013 17:03, editado 2 veces en total.
									
			
									
						- josepsierra
- .300 Win Mag 
- Mensajes: 2429
- Registrado: 28 Oct 2011 17:01
- Contactar:
- Estado: Desconectado
Re: Deutsche Werke Erfrut, Walther´s patent
La carga del depósito de alimentación también es poco practica ya que tenemos que abrirlo por la pestaña o botón deslizante de carga, situado en el lado izquierdo anterior de el cajón de mecanismos que en su acción la tenemos que deslizar hacia nosotros con lo que conseguimos liberar la compuerta consiguiendo que bascule y así quede en posición de alimentación.
Una vez lleno, solo con empujarlo con la mano a su posición primaria se cierra y ya está cargado, un apunte, si tenemos el cierre en posición abierto o sea atrás, en la operación de cerrado del depósito de alimentación el cierre se accionara introduciendo a modo de carga rápida tipo Browning el primer cartucho en la recamara, este sistema no lo tienen todas, no sé porque, aunque me inclino a pensar por una modificación efectuada en algunas unidades de forma clandestina o no oficial, en general toda la operación resulta poco ergonómico y notablemente frágil diría yo.
 
Es evidente que esta Patent Walther¨s no es un arma excelente como podéis comprobar, solo el hecho histórico no puede cautivar ya que tanto sistemáticamente como morfológicamente es lo que podríamos denominar como un viejo dinosaurio.
 
El sistema de palanca de Maxim, Browning y Hoffmann, es un legado histórico, ellos, comprendieron que este sistema no era adecuado y jamás lo produjeron, la compañía Carl Walther lo intento, sus escasas 6000 unidades no confirmadas totalmente y su rendimiento discreto son una prueba de que este sistema de palanca no era el camino para una escopeta semiautomática.
Saludos. Josep
			
													Una vez lleno, solo con empujarlo con la mano a su posición primaria se cierra y ya está cargado, un apunte, si tenemos el cierre en posición abierto o sea atrás, en la operación de cerrado del depósito de alimentación el cierre se accionara introduciendo a modo de carga rápida tipo Browning el primer cartucho en la recamara, este sistema no lo tienen todas, no sé porque, aunque me inclino a pensar por una modificación efectuada en algunas unidades de forma clandestina o no oficial, en general toda la operación resulta poco ergonómico y notablemente frágil diría yo.
Es evidente que esta Patent Walther¨s no es un arma excelente como podéis comprobar, solo el hecho histórico no puede cautivar ya que tanto sistemáticamente como morfológicamente es lo que podríamos denominar como un viejo dinosaurio.
El sistema de palanca de Maxim, Browning y Hoffmann, es un legado histórico, ellos, comprendieron que este sistema no era adecuado y jamás lo produjeron, la compañía Carl Walther lo intento, sus escasas 6000 unidades no confirmadas totalmente y su rendimiento discreto son una prueba de que este sistema de palanca no era el camino para una escopeta semiautomática.
Saludos. Josep
					Última edición por josepsierra el 06 Jul 2013 16:34, editado 2 veces en total.
									
			
									
						- tokarev41
- .300 Win Mag 
- Mensajes: 1220
- Registrado: 13 Sep 2007 09:01
- Ubicación: ESPAÑA
- Contactar:
- Estado: Desconectado
Re: Deutsche Werke Erfrut, Walther´s patent
¡Espectacular!   
   
 
Es tan fea que me parece bonita
			
									
									 
   
 Es tan fea que me parece bonita

Tonto es aquel que declara temer a la muerte no porque una vez que llega es temible sino porque es temible esperarla.
          Â
						Â Â Â Â Â Â Â Â Â Â Â
- josepsierra
- .300 Win Mag 
- Mensajes: 2429
- Registrado: 28 Oct 2011 17:01
- Contactar:
- Estado: Desconectado
Re: Deutsche Werke Erfrut, Walther´s patent
Gracias compañeros ya sabéis que disfruto como un enano haciéndolos, por cierto he encontrado un video que es oro puro.
En el hacen unas pruebas de la Walther y de la Sjögren, casi nada, eso si esta en ruso….Creo porque no me entero de nada pero como una imagen vale más que mil palabras ahí va……A disfrutar compañeros.
Josep
			
									
									
						En el hacen unas pruebas de la Walther y de la Sjögren, casi nada, eso si esta en ruso….Creo porque no me entero de nada pero como una imagen vale más que mil palabras ahí va……A disfrutar compañeros.
Josep
Volver a “Escopetas para Caza”
¿Quién está conectado?
Usuarios navegando por este Foro: No hay usuarios registrados visitando el Foro y 14 invitados



